【生活中心/綜合報導】中國廣東省「屈公病(Chikungunya,又稱基孔肯雅熱)」疫情嚴峻,我國疾管署將當地旅遊疫情建議由第1級「注意」,提升為第2級「警示」,提醒民眾對當地採取加強防護措施,若前往,建議穿著淺色長袖衣褲、攜帶防蚊液。美國疾病控制與預防中心也將中國旅遊警示上調為二級,建議民眾加強預防措施、接種疫苗。

國際間屈公病疫情嚴峻,全球今年迄今已累計逾25萬例病例,世界衛生組織(WHO)於7月22日緊急呼籲各國應採取行動。
中國境內屈公病疫情持續擴大,根據4日報導,確診病例已直逼7000例。中國當局更發布「後遺症告知書」,指目前無特效藥,感染後會出現持續高燒、劇烈關節疼痛、皮疹等症狀。
疾管署說明,屈公病的病媒蚊與登革熱相同,由帶病毒的白線斑蚊或埃及斑蚊叮咬而感染,而屈公病的潛伏期為2至12天,發病前2天至發病後5天為病毒血症期,感染症狀包括突然發燒、關節痛或關節炎(特別是手腳的小關節、手腕和腳踝)、頭痛、噁心、嘔吐、疲倦、肌肉疼痛,約半數患者會出現皮疹;症狀持續3至7天。
疾管署指出,與登革熱不同的是,部分感染屈公病的病人會持續數週倦怠感,有些患者關節會痛到無法行動,並持續數週至數月甚至數年;重症高風險群為新生兒於出生時感染、65歲以上年長者或患有高血壓、糖尿病、心血管疾病史者。
疾管署提醒,計畫前往屈公病流行地區的民眾,應落實防蚊措施,穿著淺色長袖衣褲,使用政府機關核可、含敵避(DEET)、派卡瑞丁(Picaridin)等成分的防蚊液;入境時如自覺可能感染,應主動告知機場檢疫人員。
針對疫情變化,疾管署7月下旬,已提升中國廣東省登革熱及屈公病旅遊疫情建議為第1級「注意」,提醒遵守當地一般預防措施;昨(4)天再次針對當地屈公病疫情,調整旅遊疫情建議為第2級「警示」,對當地採取加強防護。
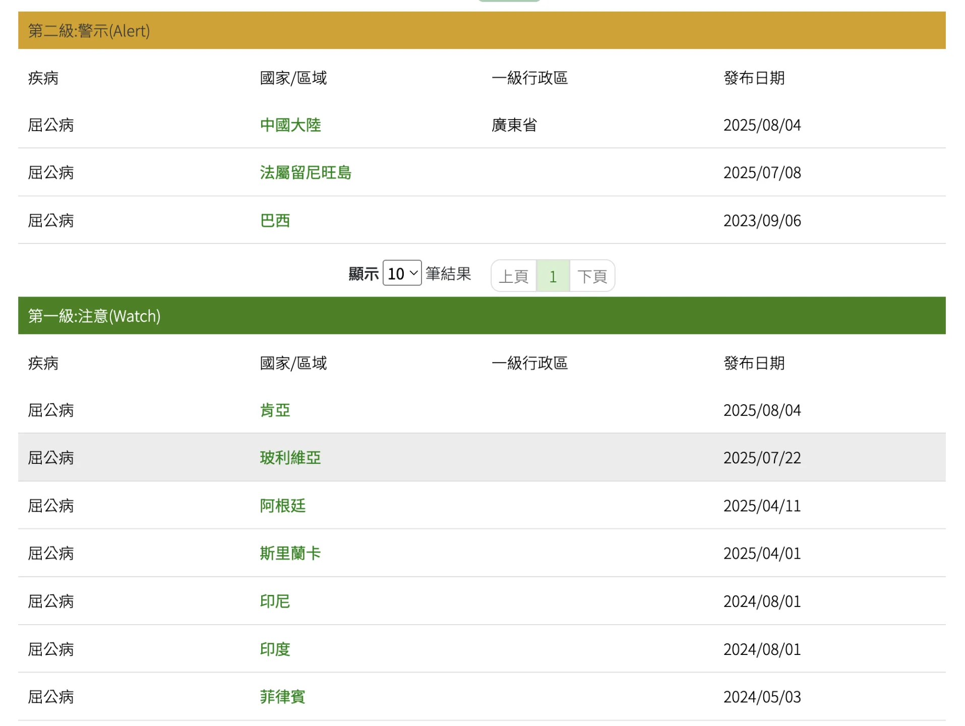
疾管署在「國際旅遊疫情建議等級」中,列出第二級:警示(對當地採取加強防護,Alert)共3處國家或區域,有中國大陸廣東省、法屬留尼旺島、巴西;第一級:注意(提醒遵守當地的一般預防措施,Watch),有肯亞、玻利維亞、阿根廷、斯里蘭卡、印尼、印度、菲律賓共7國。



